주문

판결이유

AI 요약

조립식 문틀 실용신안권 침해 여부: 자유실시기술 항변의 인용

결과 요약

  • 원고의 등록실용신안(조립 및 교체가 용이한 조립식 문틀)에 대한 피고의 실용신안권 침해 주장이 기각됨.
  • 피고실시제품이 이 사건 등록실용신안의 출원일 이전에 공지된 비교대상고안 1, 3으로부터 극히 용이하게 고안될 수 있는 자유실시기술에 해당한다고 판단함.

사실관계

  • 원고는 2000. 2. 15. 출원하여 2000. 5. 9. 등록된 '조립 및 교체가 용이한 조립식 문틀'(제189674호)의 실용신안권자임.
  • 피고는 별지 설명서 및 도면 기재 문틀용 측면틀체(피고실시제품)를 제조하여 아파트 등 공사현장에 조립·시공함.
  • 원고는 피고실시제품이 이 사건 등록실용신안의 구성요소를 모두 충족하여 실용신안권을 침해한다고 주장하며 침해금지 및 손해배상을 청구함.
  • 피고는 이 사건 등록실용신안이 신규성 및 진보성이 없거나, 피고실시제품이 비교대상고안들로부터 극히 용이하게 고안될 수 있는 자유실시기술이라고 항변함.

핵심 쟁점, 법리 및 법원의 판단

비교대상고안의 공지 시점 및 선행기술성 여부

  • 법리: 구 실용신안법(1998. 9. 23. 법률 제5577호로 전문 개정되고, 2006. 3. 3. 법률 제7872호로 전문 개정되기 전의 것)상 실용신안의 공지 시점은 설정등록일로 보아야 함. 특허청 직원의 비밀유지의무가 설정등록으로 소멸하고, 설정등록일 이후에는 불특정다수인이 고안의 내용을 객관적으로 인식 가능한 상태에 있다고 봄이 상당함.
  • 법원의 판단:
    • 비교대상고안 1(등록번호 제168114호)은 1999. 8. 12. 출원, 1999. 11. 8. 실용신안등록, 2000. 2. 15. 등록공고됨.
    • 비교대상고안 3(등록번호 제177649호)은 1999. 10. 29. 출원, 2000. 1. 26. 실용신안등록, 2000. 4. 15. 등록공고됨.
    • 이 사건 등록실용신안의 출원일(2000. 2. 15.) 이전에 비교대상고안 1, 3이 설정등록되었으므로, 위 각 고안들은 이 사건 등록실용신안에 대한 선행기술이 될 수 있음.

관련 판례 및 법령

  • 대법원 2001. 7. 27. 선고 99후2020 판결
  • 특허법원 2003. 1. 9. 선고 2002허2372 판결
  • 구 실용신안법 제82조 (비밀누설죄)
  • 구 실용신안법 제35조 제5항 (등록공고)
  • 구 실용신안법 제77조 (서류의 열람 등)
  • 구 특허법 제216조 제1항, 제2항 (서류의 열람 등)

피고실시제품의 자유실시기술 해당 여부

  • 법리: 통상의 기술자가 선행기술을 결합하여 극히 용이하게 고안해 낼 수 있는 기술은 자유실시기술에 해당하며, 이는 실용신안권의 권리범위에 속하지 않음.
  • 법원의 판단:
    • 피고실시제품의 구성요소 ①(벽체 시공 시 바탕틀 설치 및 미장처리)은 비교대상고안 1과 동일함.
    • 피고실시제품의 구성요소 ②(바탕틀 외측면 'ㄱ'자형 커버 몰딩 부착 및 몰딩 끼움 홈 형성) 및 ④(측면 커버 몰딩 부착)는 비교대상고안 1의 대응 구성과 유사하며, 차이점(ㄱ자형 커버몰딩 수용 홈의 위치)은 비교대상고안 3의 구성(가문틀에 제1부재 수용 홈 형성)과 동일한 효과를 가짐.
    • 피고실시제품의 구성요소 ③(가스켓 설치 스토퍼 체결)은 비교대상고안 1과 동일함.
    • 피고실시제품과 비교대상고안 1, 3은 모두 조립식 문틀이라는 동일한 기술분야에 속하며, 바탕틀을 'ㄱ'자형 커버 몰딩으로 감싸고 측면 커버 몰딩을 부착, 설치하는 문틀이라는 점에서 동일한 물건에 관한 고안으로 볼 수 있음.
    • 통상의 기술자라면 비교대상고안 1, 3을 결합하여 피고실시제품을 극히 용이하게 고안해 낼 수 있으므로, 피고실시제품은 자유실시기술에 해당함.
    • 따라서 피고실시제품은 이 사건 등록실용신안의 권리범위에 속하지 않으므로, 원고의 청구는 이유 없음.

검토

  • 본 판결은 실용신안권 침해 소송에서 피고의 자유실시기술 항변을 인용한 사례로, 선행기술의 공지 시점 판단 기준과 선행기술의 결합을 통한 자유실시기술 인정 여부가 주요 쟁점이었음.
  • 특히, 구 실용신안법 하에서 실용신안의 공지 시점을 등록공고일이 아닌 설정등록일로 판단한 점은 실용신안권의 권리범위 해석에 중요한 영향을 미침. 이는 특허청 직원의 비밀유지의무 소멸 시점과 불특정다수인의 인식 가능성을 기준으로 공지 여부를 판단한 것으로, 이후 법 개정(2009. 1. 30. 법률 제9381호)을 통해 '등록공고'가 '설정등록'으로 변경된 취지와도 부합함.
  • 피고실시제품이 선행기술의 단순한 결합 또는 치환에 불과하여 통상의 기술자가 용이하게 고안할 수 있는 자유실시기술로 인정된 점은, 실용신안권의 진보성 판단과 권리범위 해석에 있어 선행기술의 중요성을 다시 한번 강조하는 판례로 볼 수 있음.

원고, 피항소인
원고 주식회사 (소송대리인 법무법인 ○조 담당변호사 ○○○)
피고, 항소인
피고 주식회사 (소송대리인 변호사 ○○○○ ○○)
변론종결
2009. 7. 8.

주 문

1. 제1심 판결 중 피고 패소부분을 취소하고, 그 취소부분에 해당하는 원고의 청구를 기각한다. 2. 소송총비용은 원고가 부담한다.

청구취지 및 항소취지

1. 청구취지 피고는 별지 설명서 및 도면 기재 ‘문틀용 측면틀체’ 및 그 유사품을 생산, 사용, 판매, 반포하여서는 아니되고, 피고 경영의 공장, 사무실, 창고 및 그 이외의 장소에 보관하고 있는 피고 소유의 별지 설명서 및 도면 기재 ‘문틀용 측면틀체’ 및 그 유사품의 완제품 및 반제품과 이를 제조하기 위하여 사용하고 있는 금형을 각 폐기하며, 원고에게 339,212,700원 및 이에 대하여 2008. 10. 23.자 청구취지확장 및 청구원인변경신청서 송달 다음날부터 다 갚는 날까지 연 25%의 비율에 의한 금원을 지급하라. 2. 항소취지 주문과 같다.

이 유

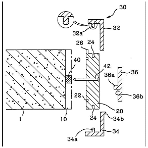
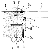
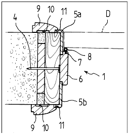
1. 기초사실 다음 각 사실은 당사자 사이에 다툼이 없거나, 갑 제1, 2호증, 갑 제3호증의 1, 2, 갑 제6호증의 각 기재에 변론 전체의 취지를 종합하여 인정할 수 있다. 가. 원고의 등록실용신안 (1) 명칭 : 조립 및 교체가 용이한 조립식 문틀(이하 '이 사건 등록실용신안'이라 한다) (2) 출원일/ 등록일/ 등록번호/ 기술평가확정등록일 : 2000. 2. 15./ 2000. 5. 9./ 제189674호/ 2001. 11. 12. (3) 실용신안권자 : 원고, 고안자 : 한철현 (4) 청구항 : ● 벽체 시공시 통상의 방법으로 바탕틀(2)을 벽체와의 사이에 보강목(3)을 끼우고 앵커 볼트(4)를 체결하여 맞춰 세워 설치한 다음 틈새를 콘크리트 미장처리하여 설치하게 되는 문틀에 있어서, ● 바탕틀(2)의 외측면 양 모서리부에 한 쌍의 ‘ㄱ’자형 커버 몰딩(5a)(5b)을 부착 고정하되, 측면에 몰딩 끼움 홈(11)을 형성하여 측면이 평면 상태가 되도록 하여 부착 고정 시킨 후, ● 이들 사이에는 일측면에 가스켓(8)이 설치된 스토퍼(6)를 끼워 체결하고, ● 양 측면에는 내면(10)이 수평면으로 된 측면 커버 몰딩(9)을 부착 설치하여 일체로 조립 구성됨을 특징으로 하는 조립 및 교체가 용이한 조립식 문틀. (5) 도면 이 유 첨부자료 이 유 첨부자료 1 : 문틀 2 : 바탕틀 3 : 보강목 5a, 5b : ‘ㄱ’자형 커버 몰딩 6 : 스토퍼 8 : 가스켓 9 : 측면 커버 몰딩 10 : 내면 11 : 몰딩 끼움 홈 나. 피고실시제품 피고는 별지 설명서 및 도면 기재 문틀용 측면틀체(이하 ‘피고실시제품’이라 한다)를 제조하여 아파트 등 공사현장에 조립·시공한 바 있다. 2. 당사자의 주장 가. 원고의 주장 피고실시제품은 이 사건 등록실용신안의 구성요소를 모두 충족하고 있는바, 피고가 피고실시제품을 생산·시공하는 것은 이 사건 등록실용신안에 관한 원고의 실용신안권을 침해하는 행위이므로, 그 침해행위의 금지 및 이로 인하여 원고가 입은 손해의 배상을 구한다고 주장한다. 나. 피고의 주장 (1) 이 사건 등록실용신안은 그 출원 전에 이미 아래의 비교대상고안들에 의해 공지·공용되었으므로 신규성이 없다. (2) 이 사건 등록실용신안은 통상의 기술자가 그 출원 전에 공지되었던 아래의 비교대상고안들로부터 극히 용이하게 고안할 수 있는 것으로서 진보성이 없다. (3) 피고실시제품은 이 사건 등록실용신안 출원 전에 이미 공지되었던 아래의 비교대상고안들로부터 극히 용이하게 고안해 낼 수 있는 자유실시기술이다. 3. 자유실시기술 항변에 대한 판단 살피건대, 먼저 피고의 자유실시기술 항변에 대하여 보기로 한다. 가. 비교대상고안 (1) 비교대상고안 1 1999. 8. 12. 출원되어 1999. 11. 8. 실용신안등록되고 2000. 2. 15. 등록공고된 ‘조립 및 교체가 용이한 조립식 문틀’(등록번호 제168114호, 실용신안권자 원고, 고안자 한철현, 을 제1호증)로서, 바탕틀(2)을 벽체와의 사이에 보강목(3)을 끼우고 앵커 볼트(4)를 체결하여 틈새를 콘크리트 미장처리한 문틀에 있어서, 바탕틀(2)의 외측면 양 모서리부에 한 쌍의 “ㄱ”자형 커버 몰딩(5a)(5b)을 부착 고정 시킨 후 이들 사이에 가스켓(8)이 설치된 스토퍼(6)를 끼워 체결하고, 양 측면에는 콘크리트와의 접촉 방지를 위한 홈(10)이 내면에 형성되고, 그 일측에 몰딩 끼움 홈(11)이 형성된 측면 커버 몰딩(9)을 부착 설치하여 일체로 조립 구성됨을 특징으로 하는 조립식 문틀 구성이 개시되어 있다. [ 주요 도면 ] 도면 1 이 유 첨부자료 도면 2 이 유 첨부자료 (2) 비교대상고안 3 1999. 10. 29. 출원되어 2000. 1. 26. 실용신안등록되고 2000. 4. 15. 등록공고된 ‘조립식 문틀’(등록번호 제177649호, 을 제3호증)로서, 양측면에 각각 길이방향으로 파여진 결합홈(24)이 형성된 가문틀(20)과, 결합홈(24)에 끼워지는 결합돌기(32a)가 형성되고, 가문틀(20)의 일측에서 직각으로 형성되어 가문틀(20)의 일부분을 감싸는 제1부재(32)와, 제1부재(32)와 대응되도록 가문틀(20)의 타측에서 직각으로 형성되어 가문틀(20)의 일부분을 감싸고, 결합홈(24)에 끼워지는 결합돌기(34a)를 가지며, 통로(2)의 폭방향으로 길이방향을 따라 길게 결합편(34b)이 돌출 형성된 제2부재(34)와, 결합편(34b)이 끼워지는 결합편홈(36b)을 가지며, 가문틀(20)에 조립된 제1부재(32)와 제2부재(34) 사이에 끼워져 문짝(3)이 걸리는 턱이 형성되도록 돌출되는 제3부재(36)로 된 본문틀(30)로 이루어진 것을 특징으로 하는 조립식 문틀 구성이 개시되어 있다. [ 주요 도면 ] 도면 1 이 유 첨부자료 도면 2 이 유 첨부자료 나. 비교대상고안 1, 3이 이 사건 등록실용신안의 출원 전에 이미 공지된 고안인지 여부 (1) 앞서 본 바와 같이, 비교대상고안 1, 3의 경우 출원일·설정등록일은 이 사건 등록실용신안의 출원일(2000. 2. 15.) 이전이지만, 등록공고일은 이 사건 등록실용신안의 출원일과 같은 날이거나(비교대상고안 1) 그 이후이다(비교대상고안 3). 따라서, 위 각 비교대상고안이 ‘설정등록시’에 공지되었다고 본다면 선행기술이 될 수 있으나 ‘등록공고시’에 공지되었다고 본다면 선행기술이 될 수 없는바, 비교대상고안 1, 3의 출원 당시 시행되던 구 실용신안법(1998. 9. 23. 법률 제5577호로 전문 개정되고, 2006. 3. 3. 법률 제7872호로 전문 개정되기 전의 것. 이하 같다)의 해석상 아래와 같은 이유로 위 각 비교대상고안은 설정등록시에 공지되었다고 봄이 상당하다. 즉, 을 제4호증의 기재에 변론 전체의 취지를 종합하면, 구 실용신안법 제82조는 특허청 직원 등이 직무상 알게 된 ‘출원중’의 고안에 관한 비밀누설행위 등을 처벌하도록 규정하고 있는바, 여기서 '출원중'의 고안의 의미는 그 고안이 설정등록이 되기 전까지를 의미한다고 할 것이어서, 특허청 직원 등의 비밀유지의무는 출원중인 고안이 설정등록됨으로써 소멸되고, 이에 따라 설정등록일을 기준으로 불특정다수인이 고안의 내용을 객관적으로 인식 가능한 상태에 있다고 보아야 할 것이므로, 결국 고안의 설정등록일 이후에는 당해 고안의 내용은 공지되었다고 봄이 상당하다 할 것이다. 또한, 대법원은 구 의장법(1995. 1. 5. 법률 제4894호로 개정되기 전의 것. 이하 같다)의 규정상 “의장은 ‘등록일’ 이후 공지되었다고 봄이 상당하다.”라고 한 원심을 유지한바 있고(대법원 2001. 7. 27. 선고 99후2020 판결), 특허법원은 위 대법원 판결의 논거를 구 실용신안법에도 그대로 적용하여 “설정등록일 이후 출원고안이 공지되었다.”라는 취지로 판시한 바 있으며{ 특허법원 2003. 1. 9. 선고 2002허2372 판결(확정)}, 특허청이 발간한 ‘선등록 실용신안 심사가이드 2006. 4.’ 55면도 위 대법원 판결의 원심판결(특허법원 1999. 6. 3. 선고 99허1027 판결) 및 위 특허법원 2002허2372 판결을 인용하며 같은 취지로 설명하고 있다. (2) 한편, 구 실용신안법은 특허청장은 ‘등록공고가 있는 날’부터 출원서류 및 그 부속물건을 ‘공중의 열람’에 제공할 의무가 있고(제35조 제5항), 출원 중인 고안 관련 서류에 대한 열람·복사 신청이 있는 경우라 하더라도 등록공고 되기 이전의 출원 고안에 관한 서류에 대해서는 특허청장이 이를 허가하지 아니할 수 있다{ 제77조, 구 특허법(2001. 2. 3. 법률 제6411호로 개정되기 전의 것. 이하 ‘구 특허법’이라 한다) 제216조 제1항, 제2항}고 규정하고 있기는 하나, 이는 위와 같은 규정에 따라 등록공고 이전에 출원 고안에 관한 서류의 열람, 복사가 제한될 수 있다는 의미에 불과할 뿐이고, 그렇다고 하여 불특정다수인이 설정등록된 고안의 내용을 인식할 수 있는 상태에 있지 않다는 의미는 아니라 할 것이다(최소한 설정등록됨으로써 비밀유지의무가 소멸한 특허청의 관련 직원 등은 설정등록된 고안의 내용을 인식할 수 있는 상태에 있다). 더욱이 구 실용신안법이 2006. 3. 3. 법률 제7872호로 전문 개정된 이후 실용신안법 제44조에 의하여 준용되는 특허법 제216조의 규정이 2009. 1. 30. 법률 제9381호로 개정되면서 위 규정에 있던 '등록공고'가 '설정등록'으로 변경되었는바, 그 변경 이유도 종래 특허청의 실무상 설정등록 이후에는 등록공고 이전이라도 출원 서류에 대한 열람이나 복사를 허용하는 경우가 상당히 있었던 것에 기인한 것으로 보인다. (3) 따라서, 비교대상고안 1, 3이 이 사건 등록실용신안의 출원일 이전에 설정등록된 이상 위 각 고안들은 이 사건 등록실용신안에 대하여 선행기술이 될 수 있다 할 것이다. 다. 피고실시제품이 비교대상고안 1, 3으로부터 극히 용이하게 실시할 수 있는지 여부 (1) 피고실시제품의 구성요소 별지 설명서 및 도면에 의하면, 피고실시제품의 구성은『벽체 시공시에 바탕틀(102)을 벽체와의 사이에 보강목(103)을 끼우고 엥커볼트(104)를 체결하여 맞춰 세워 설치한 다음 틈새를 콘크리트 미장처리하여 설치하게 되는 문틀(101)에 있어서 (이하 '①구성요소'라 한다), 바탕틀(102)의 외측면 양 모서리부에 한 쌍의 "ㄱ"자형 커버 몰딩(105a)(105b)을 부착고정하되, 측면에 몰딩끼움홈(111)을 형성하여 측면에 평면상태가 되도록 하여 부착고정시킨 후(이하 ’②구성요소‘라 한다), 이들 사이의 전면 중앙에는 일측면에 가스켓(108)이 설치된 스토퍼(106)를 끼워 체결하고(이하 ‘③구성요소’라 한다), 양 측면에는 내면(110)이 수평면으로 된 측면 커버몰딩(109)을 부착 설치한 것(이하 ‘④구성요소’라 한다)』으로 나눌 수 있다. (2) 피고실시제품과 비교대상고안 1, 3의 대비 (가) ①구성요소의 대비 ①구성요소는 비교대상고안 1의 "바탕틀(2)을 벽체와의 사이에 보강목(3)을 끼우고 앵커 볼트(4)를 체결하여 틈새를 콘크리트로 미장처리한 문틀"의 구성과 동일하고 그 효과도 동일하다. (나) ②구성요소 및 ④구성요소의 대비 ②구성요소 및 ④구성요소는 비교대상고안 1의 “바탕틀(2)의 양 모서리부에 한 쌍의 ㄱ자형 커버몰딩(5a)(5b)을 부착하고, 바탕틀(2)과 ㄱ자형 커버몰딩(5a)(5b)이 부착된 면에 몰딩끼움홈(11)이 형성된 측면 커버몰딩(9)을 부착 설치한 구성”과 대응된다. ②구성요소 및 ④구성요소와 비교대상고안 1의 대응구성을 대비해 보면, 양 구성은 모두 바탕틀의 양 모서리부에 ㄱ자형 커버몰딩을 부착하고, 바탕틀과 ㄱ자형 커버몰딩이 부착된 면에 측면 커버몰딩을 부착 설치한 점에서 동일하며, 다만 ②구성요소 및 ④구성요소는 ㄱ자형 커버몰딩을 수용하는 홈이 바탕틀에 형성되는 반면, 비교대상고안 1의 대응구성은 ㄱ자형 커버몰딩을 수용하는 홈이 측면 커버몰딩에 형성되는 점에서 차이가 있다. 그러나 ②구성요소 및 ④구성요소의 바탕틀에 ㄱ자형 커버몰딩을 수용하는 홈이 형성되는 구성은 비교대상고안 3의 "가문틀(20, ‘바탕틀’에 해당)에 제1부재(32, ‘ㄱ자형 커버몰딩‘에 해당)를 수용하는 홈이 형성된 구성"과 동일하고, 그로 인하여 ㄱ자형 커버몰딩과 바탕틀이 수평을 이루는 효과도 동일하다. (다) ③구성요소의 대비 ③구성요소는 비교대상고안 1의 “ㄱ자형 커버몰딩(5a)(5b) 사이에 가스켓(8)이 설치된 스토퍼(6)를 끼워 체결한 구성“과 동일하고, 모두 스토퍼에 설치된 가스켓에 의해 문이 여닫힐 때 충격을 흡수하는 점에서 효과도 동일하다. (3) 대비결과 위에서 살핀 바와 같이, 피고실시제품과 비교대상고안 1, 3은 모두 조립식 문틀이라는 동일한 기술분야이고, 또한 바탕틀을 ㄱ자형 커버몰딩으로 감싸고 측면 커버몰딩을 부착, 설치하는 문틀이라는 점에서 동일한 물건에 관한 고안들이라고 볼 수 있는 정도이므로, 통상의 기술자라면 비교대상고안 1, 3을 결합하여 피고실시제품을 극히 용이하게 고안해 낼 수 있으므로, 피고실시제품은 누구나 자유롭게 실시할 수 있는 자유실시기술에 해당한다. 라. 소결 따라서, 피고실시제품은 이 사건 등록실용신안과 대비할 필요도 없이 이 사건 등록실용신안의 권리범위에 속하지 않는다고 할 것이어서, 피고가 이 사건 등록실용신안에 관한 원고의 실용신안권을 침해하였음을 전제로 하는 원고의 청구는 더 나아가 살펴 볼 필요 없이 이유 없다. 4. 결론 그렇다면, 원고의 이 사건 청구는 이유 없으므로 이를 기각할 것인바, 이와 결론을 일부 달리한 제1심 판결 중 피고 패소부분은 부당하므로 이를 취소하고, 그 취소부분에 해당하는 원고의 청구를 기각하기로 하여, 주문과 같이 판결한다. [설명서, 도면 생략]

판사 최성준(재판장) 함석천 김현석

하이라이트

하이라이트된 내용이 없습니다.